一、拱桥的缆索吊装施工
在峡谷河段、通航河段、有漂流物影响河段修建拱桥,以及采用有支架的方法施工将会遇很大困难或是很不经济时,便可以考虑采用无支架的施工方法。缆索吊装施工是目前我国大跨度拱桥无支架施工的主要方法,在就地浇筑拱桥的拱架和劲性骨架及钢管混凝土拱桥的钢管拱肋吊装中也是经常采用的。
(一)拱箱(肋)的预制
构件的预制方法按构件预制时所处的状态分立式预制和卧式预制两种。拱箱的预制一般多采用立式预制;而桁架拱桥的桁架预制段或肋拱桥的拱肋这种面积大、宽度小的构件,必须采用卧式预制。
(二)缆索吊装设备
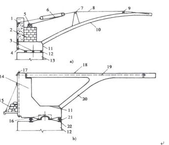
缆索吊装设备,按其用途和作用可以分为:主索、工作索、塔架和锚固装置等四个基本组成部分。主要包括主索、起重索、牵引索、结索、扣索、缆风索、塔架(包括索鞍)、地锚、滑车(轮)、电动卷扬机或手摇绞漫备和机具。其布置方式如图14-6所示。
图14-6 缆索吊装布置示例
(1-主索张紧绳;2-2号起重索;3-后浪风;4-塔架;5-I号起重索;6-扣索;7-平滚;8-主索;9-塔顶索鞍;10-塔顶索鞍;11-地垄;12-手摇绞车;13-扣塔;14-待吊肋段;15-单排立柱浪风;16-法兰螺丝;17-牵引索;18-侧向浪风;19-浪风)

1.主索
主索亦称为承重索或运输天线。它横跨桥墩,支承在两侧塔架的索鞍上,两端锚固于地锚。吊运构件的行车支承于主索上。
2.起重索
主要用于控制吊物的升降(即垂直运输),一端与卷扬机滚筒相连,另一端固定于对岸的地锚上。
3.牵引索
用于拉动行车沿桥跨方向在主索上移动(即水平运输),故需一对牵引索。既可分别连接在两台卷扬机上,也可合栓在一台双滚筒卷扬机上,便于操作。
4.结索
用于悬挂分索器,使主索、起重索、牵引索不致相互干扰。它仅承受分索器重量及自重。
5.扣索
当拱箱(肋)分段吊装时,需用扣索悬挂端段箱(肋)及中段箱(肋),并可利用扣索调整端、中段箱(肋)接头处标高。扣索的一端系在拱箱(肋)接头附近的扣环上,另一端通过扣索排架或塔架固定于地锚上。
6.缆风索
亦称浪风索。用来保证塔架的纵横向稳定及拱肋安装就位后的横向稳定
7.塔架及索鞍
塔架是用来提高主索的临空高度及支承各种受力钢索的结构物。塔架的形式是多种多样的,按材料可分为木塔架和钢塔架两类。
(三)吊装方法和加载程序
1.准备工作
无支架施工,在吊装前应对构件、墩台拱座进行全面质量检查和对起吊设备系统的试吊工作。对缆索设备的检查主要包括地锚试拉、扣索对拉、主索系统试吊(分行车空载运行、静载试吊和吊重运行三个步骤)等工作。
2.吊装方法
采用缆索吊装施工的拱桥,其吊装方法应根据桥的跨径、桥的总长及桥的宽度等情况而定。合龙的方式有单肋合龙及双基肋合龙。单肋合龙是一片中段基肋与已安装就位的两边段基肋在中部合龙,其横向稳定主要依靠基肋接头处设置的缆风索来加强。
3.加载程序
对于中、小跨径拱桥,一般可不作施工加载程序设计,按有支架施工方法对拱上结构作对称、均衡的施工。对于大、中跨径的拱桥,一般多按分环、分段、均衡对称加载的总原则进行设计。即在拱的两个半跨上,按需要分成若干段,并在相应部位同时进行相等数量的施工加载。在多孔拱桥的两个邻孔之间,也须均衡加载。
4.加强稳定性的措施
(1)横向稳定缆风索
拱肋稳定缆风索在吊装过程的不同施工阶段具有不同的作用。在边段拱肋就位时,用以调整和控制拱肋中线;在拱肋合龙时,可以约束接头的横向偏移;在拱肋成拱以后,相当于一个弹性支承,从而减少拱肋自由长度,增大拱肋的横向稳定;在拱肋受外力作用时,约束拱肋的位移。
(2)拱肋纵向稳定措施
当拱肋接头处可能发生上冒变形时,可在其位置下方设置下拉索来控制变形,下拉索一般对称布置。
(3)拱肋横向联系
在吊装过程中。为了减少拱肋的自由长度和增强拱肋的横向整体性,拱肋之间的横向联系是一项必不可少的施工措施。一般采用的横向联系有木夹板、木剪刀撑、钢筋拉杆、钢横梁和钢筋混凝土横系梁等形式。
二、拱桥的转体施工
(一)概述
拱桥转体施工方法,是将拱圈分成两个半跨,分别在两岸利用地形作简单支架(或土牛拱胎)将半拱预制完成.之后以桥梁结构本身为转动体,使用一些机具设备,分别将两个半拱转体到桥位轴线位置合龙成拱。转体施工一般适用于单孔或三孔的桥梁。
转体的方法可以采用平面转体、竖向转体或平、竖结合转体。用转体施工建造大跨度拱桥,可节省支架费用、减少安装工序,把复杂的高空作业和水上作业变为岸边的陆上作业。可不中断河道通航或立交桥的交通,具有良好的技术经济效益和社会效益。
1.平面转体
按照桥梁的设计标高先在两岸边预制半跨,当预制件达到设计强度后,借助转动设备在水平面内转动至桥位中线处合龙成桥。
平面转体可分为有平衡重转体和无平衡重转体。有平衡重转体一般以桥台背墙作为平衡重,并作为桥体上部结构转体用拉杆(或拉索)的锚锭反力墙,用以稳定转动体系和调整重心位置。为此,平衡重部分不仅在桥体转动时作为平衡重量,而且也要承受桥梁转体重量的锚固力。如图14-7所示为有平衡重转体施工的示意图。有平衡重转体施工受到转动体系重量的限制。过大的平衡重增大了转动的难度且不经济,一般适用于跨径l00m以内的拱桥。
无平衡重转体施工是把有平衡重转体施工中的拱圈扣索拉力锚在两岸岩体中,由此来锚固半跨桥梁悬臂状态时产生的拉力,并在立柱的上端设转轴,下端设转盘,通过转动体系进行平面转体。由于节省了庞大的平衡重,减轻转动体系的重量。故可用在大跨度桥梁中。无平衡重转体施工需要有一个强大牢固的锚锭,因此宜在山区地质条件好或跨越深谷急流处建造大跨桥梁时选用。如图14-8所示
为无平衡重转体施工示意图。
图14-7有平衡重平面转体一般构造
1-尾铰;2-平衡重;3-轴心;4-锚梁;5-绞车;6-滑轮组;7-支点2;8-扣索;9-支点1;10-拱肋;11-上盘;12-上下环道;13-底盘;14-背墙;15-平衡重;16-球面铰轴心;17-竖向预应力筋;18-舡槽梁;19-拉杆;20-斜腿;21-滚轮;22-轨道板


2.竖向转体
竖向转体是在桥台处先竖向预制半拱,然后在桥位竖平面内转动两半跨使之在空中对接合龙。如图14-9所示。对跨径过大、拱肋过长的拱桥,由于竖向转动不易控制。施工过程易出现问题.故该施工法只宜在中、小跨径拱桥中使用。
竖向转体视拱箱(肋)预制或现浇的方式不同分为:(1)俯卧预制后向上转
体;(2)竖直向上预制后再向下转体。
3.平、竖结合转体
当受到地形条件及施工条件的限制,不可能在桥梁的设计平面和桥位竖平面内预制,则转体既要平转还要竖转才能就位。平转和竖转的方法与前述类同,但平、竖结合的转动轴构造要复杂一些。

三、拱桥的其他施工方法
(一)塔架、斜拉索及挂篮浇注拱圈
这是国外采用最早、最多的大跨径钢筋混凝土拱桥无支架施工的方法。这种方法的要点是:在拱脚墩、台处安装临时的钢塔架或钢筋混凝土塔架,用斜拉索将拱圈用挂篮浇注一段系吊一段,从拱脚开始,逐段向拱顶悬臂浇注,直至拱顶合龙,如图14-6所示。
图14-6塔架、斜拉索及挂篮浇注拱圈
1-悬臂吊篮;2-塔架;3-吊索

(二)刚性骨架法
该法是用劲性钢材(如角钢、槽钢等型钢)按设计形状和尺寸制作并拼装成拱。它既作为拱圈的受力钢材,也作施工钢拱架使用。施工时,用系吊在它上面的吊篮逐段浇筑混凝土,当刚性骨架全部由混凝土包裹后,即形成钢筋混凝土拱圈或拱肋,该刚性骨架作为混凝土的钢筋骨架。不再拆卸回收(也有叫埋入式钢拱架)。浇筑混凝土的时候,应在拱圈两侧对称地进行。为减少混凝土的收缩应力,浇筑应逐段进行。
该法的优点是可以减少施工设备的用钢量,整体性好,拱轴线易于控制。施工进度快等。但结构本身的用钢量大。且用型钢多,不经济,如图14-7所示。
图14-7刚性骨架浇注拱圈
1-钢筋混凝土2-拱架及骨架

(三)刚性骨架与塔架斜拉索联合法
该法是充分利用刚性骨架法及塔架斜拉索法的优点,适合于较大跨径拱桥的施工。它是分两阶段施工,第一阶段用塔架斜拉索法施工靠近拱脚部分;第二阶段用刚性骨架法施工中间部分,此时需用安装在骨架底部的特殊活动作业车来分段浇筑混凝土。
(四)斜吊式悬臂浇筑拱圈
该法是将拱圈、拱上立柱和预应力混凝土桥面板等齐头并进地、边浇筑边构成桁架的浇筑方法。施工时,用预应力钢筋临时作为桁架的斜拉杆和桥面板的临时明索,将桁架锚固在后面桥台上。其施工示意如图14-8所示。


图中a)为在边孔完成后,在桥面板上设置临时明索,然后在斜吊支架上浇筑头一段拱圈,达到一定强度后就在其上设置临时明索,并撤去吊架,直接系吊于斜拉杆上,然后在前端安装悬臂吊篮。
图中b)为用吊篮悬臂浇筑拱圈。当吊篮通过拱上立柱段位置后,即需立即浇筑立柱P2及Pl、P2间桥面板,然后用吊篮继续向前浇筑,至通过下一个立柱位置P3后,再安装PI、P2间桥面板明索及斜拉杆T2和浇筑立柱P3及P2、P3间桥面板。每当吊篮前进一步,需将桥面板临时明索收紧一次。

