起下钻操作和游动系统工作分析
上一节
下一节




了解起钻操作的具体步骤;了解下钻操作的具体步骤
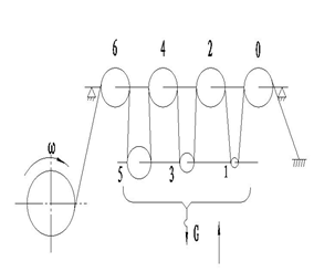
掌握游动系统钢绳速度规律;掌握游动系统滑轮切向速度和转动速度规律;根据滑轮运动规律指导钻井作业。
掌握游动系统效率的推导过程;根据游动系统效率表达式,分析游动系统效率的影响因素。

钻井过程中起下钻的操作和时间;
游动系统中钢丝绳与滑轮运动分析方法;
钢丝绳拉力和效率的分析和计算方法。

钻井过程中起下钻的操作和时间;
游动系统中钢丝绳与滑轮运动分析;

钢丝绳拉力和效率的分析和计算方法。

1. 钻井时起下钻操作包括哪些工作?
2. 在起升或下钻过程中游动系统中钢丝绳与滑轮的运动规律如何?对设计和使用有何启示?
4. 试分析游动系统滑轮的运动速度?
5. 试推导游动系统钢绳拉力的计算式?
6. 试推导游动系统的效率计算式?

1. 游动系统结构为5×6,单个轮绳的效率η=0.96,求有效绳数和游动系统效率?

