湿敏传感器
上一节
下一节
湿度传感器,是一种能感受气体中水蒸气含量,并转换成可用输出信号的传感器。
湿度传感器的特性
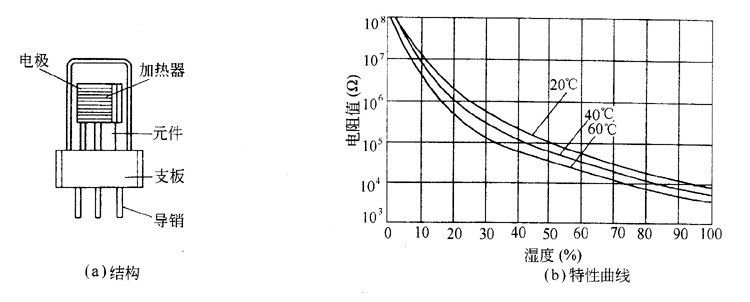
湿敏元件是最简单的湿度传感器。湿敏元件主要电阻式、电容式两大类。
湿敏电阻:湿敏电阻的特点是在基片上覆盖一层用感湿材料制成的膜,当空气中的水蒸气吸附在感湿膜上时,元件的电阻率和电阻值都发生变化,利用这一特性即可测量湿度。湿敏电阻的优点是灵敏度高,主要缺点是线性度和产品的互换性差。


湿敏电容 :湿敏电容一般是用高分子薄膜电容制成的。当环境湿度发生改变时,湿敏电容的介电常数发生变化,使其电容量也发生变化,其电容变化量与相对湿度成正比。湿敏电容的主要优点是灵敏度高、产品互换性好、响应速度快、湿度的滞后量小、便于制造、容易实现小型化和集成化,其精度一般比湿敏电阻要低一些。



应用



